| Gövde Malzemesi | S235JR |
| Kartuş Malzemesi | PP |
| Maksimum Çalışma Basıncı | 8 bar; 116 Psi |
| Maksimum Çalışma Sıcaklığı | 60 °C; 140°F |
| Filtreleme Hassasiyeti | 20, 50, 100, 130, 200 μ (mikron) |
| Boyama Yöntemi | Elektrostatik Toz Boya |
| Boya Kaplama Malzemesi | Epoksi-Polyester |
Ürünlerimiz
Sulama
Uygulama Alanları
water_drop SULAMA
Filtre Türleri
Medya Merkezi
Bize Mesaj Gönderin
Bizimle iletişime geçmek için aşağıdaki formu doldurun.
Temizlik Süreci
Manometreler aracılığıyla izlenen basınç farkı filtrenin tıkalı olduğunu gösterdiğinde manuel temizlik gereklidir. Temizleme işlemi, sistemin kapatılması ve filtrenin tamamen basınçsız hale getirilmesiyle başlar. Basınçsız hale getirildikten sonra, filtre kapağı çıkarılır ve disk kartuşu dışarı alınır. Kartuş üzerindeki sıkıştırma vidası gevşetilerek disklerin ayrılması sağlanır, böylece basınçlı su disk yüzeylerini etkili bir şekilde temizleyebilir ve birikmiş kirleticileri uzaklaştırabilir. Temizleme işleminden sonra, diskler tekrar sıkıştırılır ve yeniden birleştirilir, kartuş yeniden takılır ve filtre güvenli bir şekilde kapatılır. Sistem daha sonra tekrar kullanıma alınır.
Çalışma Prensibi
Filtre, suyu bir dizi filtre diskinden geçirerek çalışır. Çalışma sırasında, kirleticiler disklerin dış yüzeyinde birikir ve akışı kademeli olarak kısıtlar. Bu birikim, filtre giriş ve çıkışı arasında bir basınç farkı oluşturur. Doğru ve güvenilir performans sağlamak için, basınç farkı 0,7 bar'a ulaştığında filtre temizlenmelidir.
YD Serisi - Metal Y Tipi Disk Filtreler
GENEL ÖZELLİKLER
| Gövde Malzemesi | S235JR |
| Kartuş Malzemesi | PP |
| Maksimum Çalışma Basıncı | 8 bar; 116 Psi |
| Maksimum Çalışma Sıcaklığı | 60 °C; 140°F |
| Filtreleme Hassasiyeti | 20, 50, 100, 130, 200 μ (mikron) |
| Boyama Yöntemi | Elektrostatik Toz Boya |
| Boya Kaplama Malzemesi | Epoksi-Polyester |
AVANTAJLAR
Temizlik Süreci
Manometreler aracılığıyla izlenen basınç farkı filtrenin tıkalı olduğunu gösterdiğinde manuel temizlik gereklidir. Temizleme işlemi, sistemin kapatılması ve filtrenin tamamen basınçsız hale getirilmesiyle başlar. Basınçsız hale getirildikten sonra, filtre kapağı çıkarılır ve disk kartuşu dışarı alınır. Kartuş üzerindeki sıkıştırma vidası gevşetilerek disklerin ayrılması sağlanır, böylece basınçlı su disk yüzeylerini etkili bir şekilde temizleyebilir ve birikmiş kirleticileri uzaklaştırabilir. Temizleme işleminden sonra, diskler tekrar sıkıştırılır ve yeniden birleştirilir, kartuş yeniden takılır ve filtre güvenli bir şekilde kapatılır. Sistem daha sonra tekrar kullanıma alınır.
Çalışma Prensibi
Filtre, suyu bir dizi filtre diskinden geçirerek çalışır. Çalışma sırasında, kirleticiler disklerin dış yüzeyinde birikir ve akışı kademeli olarak kısıtlar. Bu birikim, filtre giriş ve çıkışı arasında bir basınç farkı oluşturur. Doğru ve güvenilir performans sağlamak için, basınç farkı 0,7 bar'a ulaştığında filtre temizlenmelidir.
YD Serisi - Metal Y Tipi Disk Filtreler
AVANTAJLAR
Y-şekilli çerçevede sağlamlık için tasarlanmıştır.
Dayanıklı metal Y gövde üzerine inşa edilen Aytok Manuel Y Tipi Disk Filtre, kompakt ve aerodinamik bir tasarımda yapısal sağlamlığı verimli disk filtrasyonuyla birleştirir. Basınç altında güvenilir performans için tasarlanan bu filtre, disk filtrasyon elemanı sayesinde tutarlı filtrasyon sağlayarak değişken ve zorlu su koşulları için idealdir. Motoru, enerji tüketimi ve minimum bakım gereksinimleri olmadan, bu sağlam filtre sadeliği uzun ömürlü performansa dönüştürür. Verimlilik dayanıklılıkla buluştuğunda, Y gövde sağlamlığını korur.
GENEL ÖZELLİKLER
| Gövde Malzemesi | S235JR |
| Kartuş Malzemesi | PP |
| Maksimum Çalışma Basıncı | 8 bar; 116 Psi |
| Maksimum Çalışma Sıcaklığı | 60 °C; 140°F |
| Filtreleme Hassasiyeti | 20, 50, 100, 130, 200 μ (mikron) |
| Boyama Yöntemi | Elektrostatik Toz Boya |
| Boya Kaplama Malzemesi | Epoksi-Polyester |
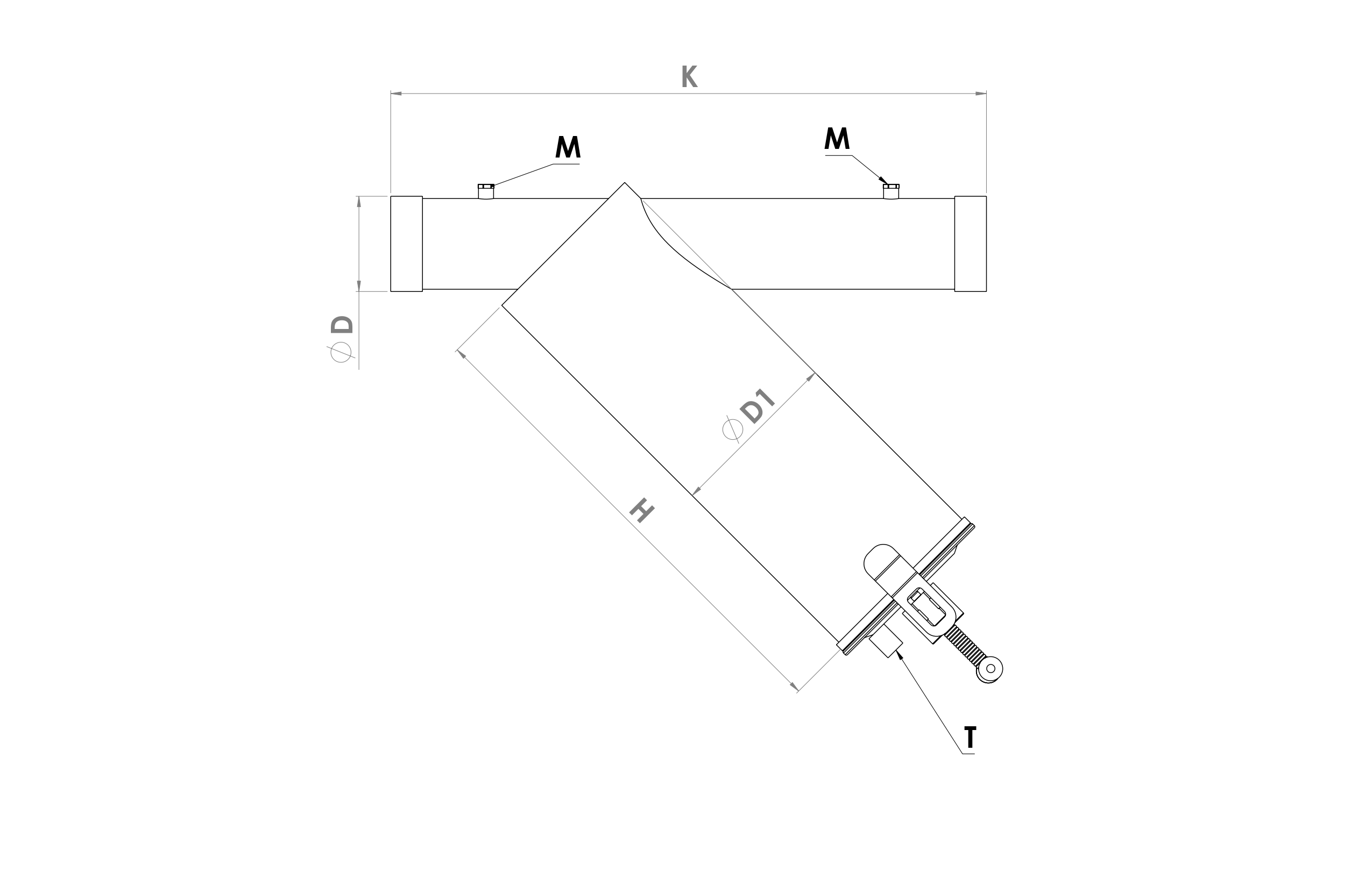
| KOD | D | D1 | M | T | K | H | Debi | Ağırlık (kg) |
|
|---|---|---|---|---|---|---|---|---|---|
| İnç | (mm) | m³/h | GPM(US) | ||||||
| YDS20 | 2 | 6 | 1/4 | 1/2 | 520 | 400 | 30 | 132 | 16 |
| YD25 | 2 1/2 | 8 | 1/4 | 3/4 | 590 | 400 | 35 | 154 | 20 |
| YD30 | 3 | 8 | 1/4 | 3/4 | 590 | 515 | 45 | 198 | 24 |
| YD40 | 4 | 8 | 1/4 | 3/4 | 670 | 625 | 70 | 308 | 29 |
Bize Mesaj Gönderin
Bizimle iletişime geçmek için aşağıdaki formu doldurun.
Ürün Detayı
YD Serisi - Metal Y Tipi Disk Filtreler
GENEL ÖZELLİKLER
Temizlik Süreci
Manometreler aracılığıyla izlenen basınç farkı filtrenin tıkalı olduğunu gösterdiğinde manuel temizlik gereklidir. Temizleme işlemi, sistemin kapatılması ve filtrenin tamamen basınçsız hale getirilmesiyle başlar. Basınçsız hale getirildikten sonra, filtre kapağı çıkarılır ve disk kartuşu dışarı alınır. Kartuş üzerindeki sıkıştırma vidası gevşetilerek disklerin ayrılması sağlanır, böylece basınçlı su disk yüzeylerini etkili bir şekilde temizleyebilir ve birikmiş kirleticileri uzaklaştırabilir. Temizleme işleminden sonra, diskler tekrar sıkıştırılır ve yeniden birleştirilir, kartuş yeniden takılır ve filtre güvenli bir şekilde kapatılır. Sistem daha sonra tekrar kullanıma alınır.
Çalışma Prensibi
Filtre, suyu bir dizi filtre diskinden geçirerek çalışır. Çalışma sırasında, kirleticiler disklerin dış yüzeyinde birikir ve akışı kademeli olarak kısıtlar. Bu birikim, filtre giriş ve çıkışı arasında bir basınç farkı oluşturur. Doğru ve güvenilir performans sağlamak için, basınç farkı 0,7 bar'a ulaştığında filtre temizlenmelidir.
AVANTAJLAR
Güçlü Filtrasyon, Zeki Tasarım.
Y-şekilli çerçevede sağlamlık için tasarlanmıştır.
Dayanıklı metal Y gövde üzerine inşa edilen Aytok Manuel Y Tipi Disk Filtre, kompakt ve aerodinamik bir tasarımda yapısal sağlamlığı verimli disk filtrasyonuyla birleştirir. Basınç altında güvenilir performans için tasarlanan bu filtre, disk filtrasyon elemanı sayesinde tutarlı filtrasyon sağlayarak değişken ve zorlu su koşulları için idealdir. Motoru, enerji tüketimi ve minimum bakım gereksinimleri olmadan, bu sağlam filtre sadeliği uzun ömürlü performansa dönüştürür. Verimlilik dayanıklılıkla buluştuğunda, Y gövde sağlamlığını korur.
DÖKÜMANLAR
| KOD | D | D1 | M | T | K | H | Debi | Ağırlık (kg) |
|
|---|---|---|---|---|---|---|---|---|---|
| İnç | (mm) | m³/h | GPM(US) | ||||||
| YDS20 | 2 | 6 | 1/4 | 1/2 | 520 | 400 | 30 | 132 | 16 |
| YD25 | 2 1/2 | 8 | 1/4 | 3/4 | 590 | 400 | 35 | 154 | 20 |
| YD30 | 3 | 8 | 1/4 | 3/4 | 590 | 515 | 45 | 198 | 24 |
| YD40 | 4 | 8 | 1/4 | 3/4 | 670 | 625 | 70 | 308 | 29 |